대형 부이의 유실을 방지하는 용도로 사용
해양관측모니터링시스템과 연동해 실시간 모니터링 및 즉각 대응 가능
[헬로티]
한국해양과학기술원이 표층 해류관측용 표류부이를 개발했다. 이번에 개발한 표류부이는 부력재의 탈부착이 용이하게 이뤄질 수 있고, 다양한 크기의 드래그와 연결할 수 있어 관측하고자 하는 수층에서 해류관측이 가능하다는 특징이 있다.
표층 해류관측용 표류부이는 표류부이는 송규민 해양순환·기후연구센터 선임연구원을 주축으로 한 한국해양과학기술원 팀이 개발했다.
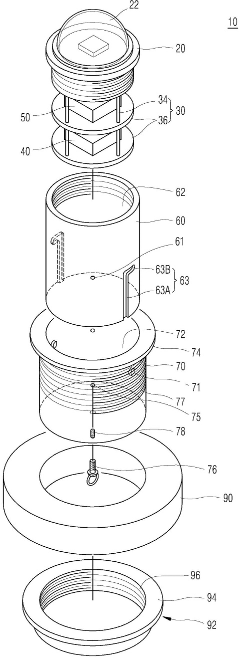
이 표류부이는 통신용 안테나가 상면으로 노출된 캡과 상기 캡의 저면에 다층으로 구비된 설치부재에 각각 설치되는 배터리 및 통신모듈, 상기 배터리 및 통신모이 장착된 설치부재를 수용하기 위한 부품 수용부가 구비됐다. 또, 상기 캡과 결합되어 상기 부품 수용부를 밀폐하기 위한 관측기 몸체를 갖추고 있다.
이 관측기 몸체의 일부분을 수용하도록 상향으로 개구된 몸체 수용부를 구비하고, 상단의 가장자리에는 환형의 플랜지가 형성되며, 저면에는 수중 유동체와 연결되기 위한 연결구를 구비한다. 결합수단에 의해 이 관측기 몸체와 결합되는 보호 하우징 및 부력을 발생시키도록 상기 보호 하우징에 끼움 결합되는 부력체를 포함하여 구성한다.
이 보호 하우징에는 끼움 결합된 상기 부력체를 상기 플랜지에 밀착시켜 고정하기 위한 부력체 고정부재가 환형의 가압단을 구비해 중공형으로 형성할 수 있다.
▲ 표류부이 사용상태(왼쪽)와 표류부이를 대형 부이에 장착한 상태(오른쪽)의 모습.
◆ 왜 필요한가?
해류의 흐름 파악은 기상이변 및 해양환경의 변화를 미리 예측하거나, 해류와 함께 이동하는 어군 등을 파악하여 어업의 기초자료로 활용되는 등 최근에 들어 그 이용가치가 점점 증대하고 있는 추세다.
기존의 해류관측 부이는 고가의 관측장비임에도 불구하고 대부분 특정 수층만 사용할 수 있도록 개발되어졌으며, 고가의 통신료로 인해 사고현장에서 자유로운 활용이 이뤄지고 있지 못하는 실정이었다.
해양조난사고 시 인명구조를 위한 수층별 다양한 표층해류정보를 제공하는 소모성 표류 부이의 투하가 요구되나 현재까지 적합한 표류 부이가 없어 구조에 많은 정보를 제공하지 못해 관련 기술의 개발이 필요했다.
◆ 기술의 차별화 요소는?
표류 부이가 소형 경량화되고, 보호 하우징이 분리되도록 구성됨으로써, 대형 부이에 용이하게 장착해 대형 부이의 유실을 방지할 수 있는 용도로 사용할 수 있다.
또, 해양관측장비 설계 및 개발 관련 기업과 연계하여 본 기술을 적용한 해양관측장비를 개발할 수 있다. 뿐만 아니라 해양관측모니터링시스템에 이번 기술을 연동해 실시간 모니터링 및 문제 발생 시 즉각적인 대응을 할 수 있다.
‘2020 해양수산 기술사업화대전’에서는 본 기술을 포함한 다양한 해양수산 분야의 우수기술과 제품 정보가 확인가능하며, 기술 연구자와 온라인 상담을 진행할 수 있도록 1:1 상담 프로그램을 제공한다. 자세한 사항은 행사 홈페이지를 통해 확인할 수 있다.
▲ 표층 해류관측용 표류부이 도면.





